Yamaha patentează o basculă cu geometrie variabilă pentru adaptarea tracțiunii și a comportamentului în viraje
Yamaha a depus un nou brevet care descrie o basculă spate cu geometrie variabilă, capabilă să modifice poziția roții spate în timpul mersului. Scopul acestui sistem este ajustarea dinamică a aderenței în viraje, în funcție de impulsurile pilotului și viteză.
Proiectarea basculei spate este una dintre cele mai sensibile sarcini în dezvoltarea unui șasiu. Forma, rigiditatea și zonele de flex controlat influențează direct accelerația, stabilitatea și aderența pe viraje. În motorsport, aceste cerințe intră adesea în conflict: o basculă optimizată pentru tracțiune la ieșirea din viraj nu este neapărat ideală pentru stabilitate la frânare sau precizie la schimbările de direcție. Noul brevet Yamaha își propune să abordeze exact această contradicție.
O evoluție a sistemelor cunoscute din MotoGP
Geometria variabilă nu este un concept nou în competiții. În MotoGP au fost utilizate ani la rând sisteme de tip Ride Height Device, derivate din holeshot-urile din motocross, inițial pentru coborârea motocicletei la start, în vederea reducerii tendinței de wheelie. Ulterior, aceste sisteme au fost folosite și în timpul rulării, pentru a coborî spatele la ieșirea din viraj și a-l ridica la frânare, maximizând aderența la intrarea în curbă. Aceste soluții erau însă strict mecanice, dictate de regulamentele competiționale. Începând cu 2023, sistemele mobile frontale au fost interzise, iar din sezonul 2027 vor fi eliminate complet și dispozitivele de coborâre a spatelui. Brevetul Yamaha arată cum ar putea evolua aceste idei într-un context lipsit de constrângeri regulamentare, printr-o abordare mult mai radicală.
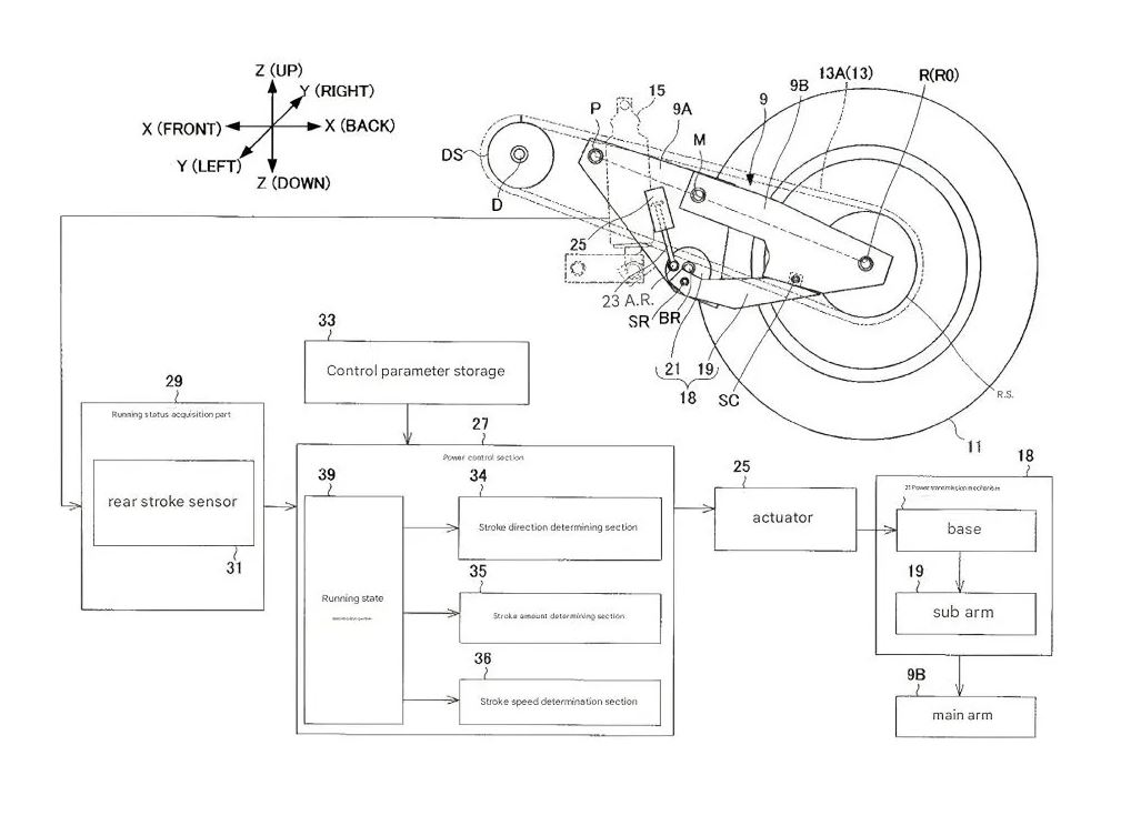
Articulație suplimentară și control hidraulic
Spre deosebire de soluțiile clasice, Yamaha nu intervine asupra sistemului de biele sau a amortizorului spate. Basculei îi este adăugată o articulație suplimentară, care permite modificarea fină a poziției roții spate față de restul șasiului. Astfel, motocicleta își poate adapta geometria în mers, fără ca amortizorul să fie implicat direct.Mișcarea este controlată de un sistem hidraulic integrat în interiorul basculei, care, printr-un mecanism complex, modifică lungimea efectivă a unei nervuri inferioare. Astfel, roata spate poate fi ridicată sau coborâtă fără a influența direct cursa suspensiei, rezultând o schimbare reală a geometriei, nu doar a poziției sub sarcină. Un element cheie este modul de control. Sistemul este gândit pentru a fi controlat de un actuator activ, care primește informații de la mai mulți senzori. Sunt luați în calcul parametri precum accelerația, decelerația, unghiul de înclinare și variațiile de tensiune ale lanțului generate de schimbările de sarcină. Un astfel de concept este incompatibil cu regulamentele actuale din MotoGP, ceea ce sugerează că nu vorbim despre un proiect destinat competiției.
Mai degrabă un laborator de inginerie decât o soluție de serie
Complexitatea soluției este evidentă. Articulațiile suplimentare, sistemul hidraulic, senzorii și actuatorii cresc masa, ocupă spațiu și ridică semne de întrebare legate de fiabilitate. Din acest motiv, o aplicare directă în competiții sau pe motociclete de serie pare puțin probabilă. Valoarea reală a unui astfel de proiect nu stă însă neapărat în implementarea sa directă, ci în datele obținute. Chiar dacă sistemul nu va ajunge niciodată pe șosea, informațiile colectate pot influența decisiv proiectarea viitoarelor bascule convenționale, printr-o calibrare mai fină a rigidității și a zonelor de flex.
Pentru motociclistul obișnuit, brevetul Yamaha nu are efecte imediate. Nu este anunțată nicio aplicare de serie, iar sistemul rămâne un exercițiu de inginerie avansată. Pe termen lung însă, astfel de experimente contribuie indirect la motociclete mai echilibrate, mai previzibile și mai ușor de controlat. Nu mai multă tehnologie de gestionat pentru pilot, ci un comportament neutru și mai rafinat.






Comentați?