Eforturile Kawasaki de a dezvolta o motocicletă alimentată cu hidrogen sunt fascinante din punct de vedere tehnic, dar se lovesc constant de o problemă majoră: dimensiunea rezervoarelor de combustibil.
La prima vedere, hidrogenul pare ideal. Din punct de vedere al masei, are o densitate energetică impresionantă—aproximativ 120 megajouli pe kilogram, de aproape trei ori mai mare decât benzina. Problema apare însă atunci când vorbim despre volum. Chiar și comprimat la 700 bar, hidrogenul oferă doar 5,6 megajouli pe litru, comparativ cu 32 MJ/l pentru benzină. Asta înseamnă că, pentru a transporta aceeași cantitate de energie, ar fi nevoie de un rezervor de aproximativ șase ori mai mare. Practic, o motocicletă ar trebui să aibă un rezervor uriaș—echivalentul a circa 90L în locul unuia obișnuit de 15 L.
În plus, rezervoarele pentru hidrogen comprimat trebuie să fie cilindrice sau sferice pentru a rezista presiunii ridicate, ceea ce face integrarea lor într-un design de motocicletă elegant extrem de dificilă. Acesta este motivul pentru care prototipul supraalimentat al celor de la Kawasaki este atât de mare și, chiar și așa, oferă o autonomie limitată.
O posibilă soluție este utilizarea hidrogenului lichid. Acesta are o densitate energetică mai bună în volum—aproximativ 8,5 MJ/l—și nu necesită presiuni atât de ridicate pentru stocare. Totuși, vine cu alte provocări: trebuie menținut la temperaturi extrem de scăzute (în jur de -253°C), ceea ce impune rezervoare foarte bine izolate și, din nou, forme rotunjite pentru a reduce pierderile de căldură.
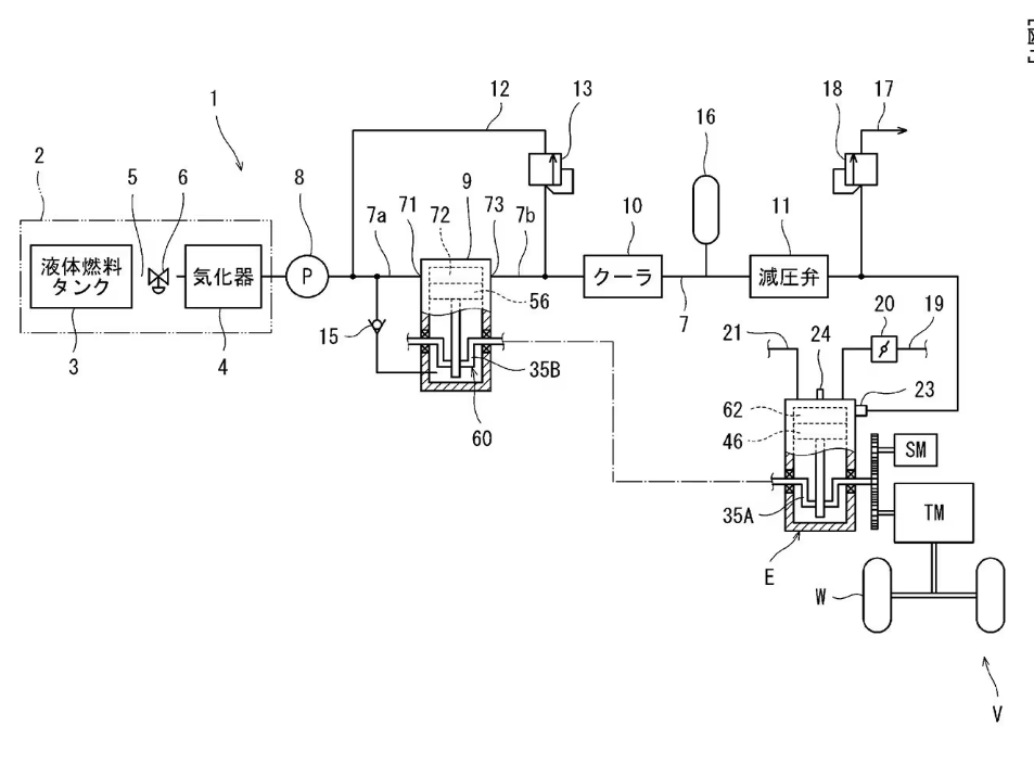
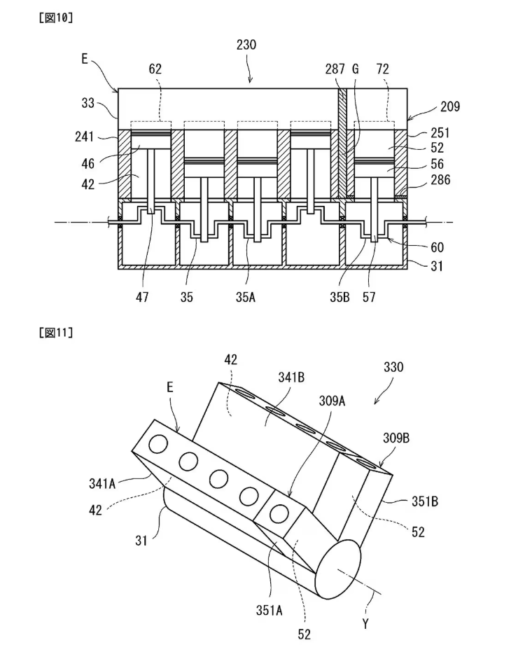
Un alt obstacol important este alimentarea motorului. În cazul hidrogenului comprimat, presiunea din rezervor este suficientă pentru a alimenta direct sistemul de injecție. În schimb, hidrogenul lichid trebuie pompat. Aici intervine inovația Kawasaki: un sistem cu două pompe, dintre care una este integrată direct în motor sub forma unui cilindru suplimentar. Practic, ceea ce pare a fi un motor cu cinci cilindri este, de fapt, un motor cu patru cilindri plus un mecanism de pompare acționat de arborele cotit. Sistemul crește presiunea combustibilului până la aproximativ 1500 psi, permițând injecția directă în camera de ardere.
Schema tehnică include un rezervor de hidrogen lichid, un vaporizator care încălzește combustibilul pentru a-l transforma în gaz, o pompă rotativă și apoi pompa principală integrată în motor. Conceptul este versatil și ar putea fi aplicat și altor tipuri de vehicule.
Cu toate acestea, problema menținerii hidrogenului în stare lichidă rămâne critică. Experimentele realizate de BMW între 2005 și 2007 au arătat că, în ciuda unei izolații foarte eficiente, hidrogenul lichid din rezervor se evaporă în aproximativ 10–12 zile. Deși motoarele cu hidrogen sunt atractive datorită emisiilor aproape inexistente—gazele de evacuare fiind în principal vapori de apă—realitatea este că, cel puțin pe termen scurt și mediu, această tehnologie are șanse reduse să devină o alternativă practică pentru motociclete, comparativ cu soluțiile actuale pe benzină sau electrice.







Comentați?